智能识别·精确管控——安得末端DLP系统助力企业筑牢数据安全防地
在企业数字化转型程度中,数据流动日益无为,外发渠说念各样化,使得敏锐信息透露风险不绝攀升。职工误操作、里面违纪、外部漏洞等多种恐吓并存,传统安全技能难以应付末端层面的数据透露风险。何如罢了末端数据的精确识别、实时监控与智能防护,已成为企业数据安全不休的中枢挑战。

安得末端DLP数据透露防护系统为企业提供消散数据全人命周期的末端防透露贬责有策画,从数据发现、智能识别、外发管控到事件反馈,构建系统化防护体系。
产物功能体系
一、智能数据识别与自动化分级
多引擎识别材干:集成要道字、正则抒发式、文献指纹、密级标签等多维识别面貌
AI增强实质识别:基于机器学习本事,精确识别500+类敏锐数据,涵盖想象图纸、财务信息、生意机密等
智能分级不休:依据企业数据分类分级设施,自动实行数据记号与分级管控

二、全面数据发现与预处理机制
末端深度扫描:周期性及实时扫描末端存储,建造敏锐数据金钱舆图
智能预处理:因循对发现数据实行加密、标密、莽撞、审计等预处理操作
动态监控反馈:实时监控文献创建、修转业为,实时评估并实施防护措施
三、致密化外发通说念管控
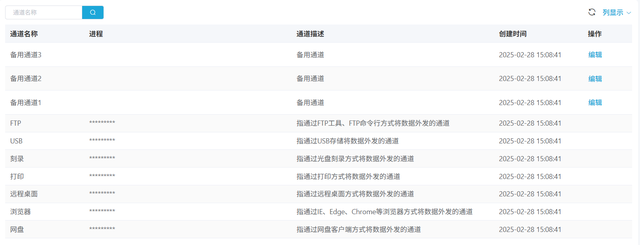
全通说念消散:管控USB、邮件、网盘、即时通信、浏览器等50+外发路线
各异化计谋:按通说念类型、使用场景成立针对性管控规定
多档次反馈:提供阻断、加密外发、审批过程、用户说明等生动反馈机制

四、实时监控与风险预警
行径实时跟踪:不绝监控数据拜访、复制、传输等操作行径
绝顶行径检测:基于行径分析模子识别可疑操作步地
即时风险告警:发现风险行径时自动触发多级预警奉告
五、辘集化管控与审计追想
长入不休平台:通过辘集胁制台罢了计谋成立、情状监控、末端不休
完竣行径纪录:注视纪录外刊行径的东说念主员、文献、通说念、时辰及操作截图
多维审计材干:因循按时代、用户、文献类型等多条目组合审计查询

六、智能反馈与合规因循
快速事件反馈:预设自动化处置过程,实时阻断风险扩散
合规讲述生成:自动生成合乎监管要求的审计讲述与事件分析
过程优化因循:基于事件数据分析,提供安全过程翻新提议
利用价值
末端数据安全治理:通过全面数据发现与分类分级,匡助企业建造末端数据金钱清单,罢了数据可视化不休。
外刊行径精确管控:联接审批过程与智能阻断机制,在保险业务平时开展的同期,有用注重敏锐信息违纪外发。
合规审计与溯源:完竣的行径纪录与审计功能,闲逸收罗安全法、数据安全法等功令要求,因循事件溯源与包袱界定。
风险态势实时感知:通过可视化监控看板,实时展示企业数据安全情状,援助不休者实时掌抓风险动态并作念出决策。

安得末端DLP系统以智能识别本事为基础,以致密化管控为中枢,通过辘集化不休平台,为企业构建了消散数据全人命周期的末端防透露体系。系统不仅罢了了对敏锐数据的有用保护,更通过生动的管控计谋和完竣的审计追想材干,在保险安全的同期因循业务高效着手,助力企业在数字化转型中构建可靠的数据安全防地。


